Product Summary
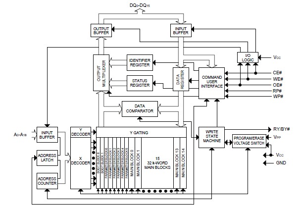
The LH28F800BGHE-TTL10 8 M-bit (512 kB x 16) SmartVoltage Flash Memory is a high-density, low-cost, nonvolatile, read/write storage solution for a wide range of applications. The LH28F800BGHE-TTL10 can operate at VCC = 2.7 V and VPP = 2.7 V. The low voltage operation capability realizes longer battery life and suits for cellular phone application. The boot, parameter and main-blocked architecture, flexible voltage and enhanced cycling capability provide for highly flexible component suitable for portable terminals and personal computers. The enhanced suspend capabilities of LH28F800BGHE-TTL10 provide for an ideal solution for code + data storage applications.
Parametrics
H28F800BGHE-TTL10 absolute maximum ratings: (1)Storage Temperature: –65 to +125℃; (2)Voltage On Any Pin (except VCC, VPP, and RP#): –2.0 to +7.0 V; (3)VCC Supply Voltage: –2.0 to +7.0 V; (4)VPP Update Voltage during Block Erase and Word Write: –2.0 to +14.0 V; (5)RP# Voltage: –2.0 to +14.0 V ; (6)Output Short Circuit Current: 100 mA.
Features
LH28F800BGHE-TTL10 features: (1)SmartVoltage technology; (2)High performance read access time; (3)Enhanced automated suspend options; (4)Enhanced data protection features; (5)SRAM-compatible write interface; (6)Optimized array blocking architecture; (7)Enhanced cycling capability: 100 000 block erase cycles; (8)Low power management; (9)Automated word write and block erase.
Diagrams

![]() |
![]() LH28F004SU-LC |
![]() Other |
![]() |
![]() Data Sheet |
![]() Negotiable |
|
||||
![]() |
![]() LH28F004SU-NC |
![]() Other |
![]() |
![]() Data Sheet |
![]() Negotiable |
|
||||
![]() |
![]() LH28F004SU-Z1 |
![]() Other |
![]() |
![]() Data Sheet |
![]() Negotiable |
|
||||
![]() |
![]() LH28F008SAT-85 |
![]() |
![]() IC FLASH 8MBIT 85NS 40TSOP |
![]() Data Sheet |
![]() Negotiable |
|
||||
![]() |
![]() LH28F008SAT-ZW |
![]() |
![]() IC FLASH 8MBIT 85NS 40TSOP |
![]() Data Sheet |
![]() Negotiable |
|
||||
![]() |
![]() LH28F008SCHT-TE |
![]() |
![]() IC FLASH 8MBIT 85NS 40TSOP |
![]() Data Sheet |
![]() Negotiable |
|
||||
(China (Mainland))








